今日股市行情2022-05-27 18:06:53

资金流向今日股市行情走势预测图
1.主力资金今日股市行情走势预测图
Wind统计显示,沪深两市主力资金今天净流出138.51亿元。其中,创业板(159915)主力资金净流出40.17亿元,沪深300成分股主力资金净流出43.27亿元,科创板主力资金净流入0.58亿元。今日股市行情走势预测图
从行业版块看来,申万所属的28个一级行业,今天仅有综合、农林牧渔、交通运输、采掘4个行业版块主力资金展现净流入,净流入金额分别为2.81亿元、1.57亿元、0.53亿元、0.42亿元。24个行业版块主力资金展现净流出,其中,电气设备行业版块主力资金净流出最多,净流出金额为21.39亿元;行业版块主力资金净流出靠前的还有有色金属(512400)、医药生物、传媒、非银金融、电子,净流出金额分别为15.34亿元、14.64亿元、11.36亿元、10.95亿元、9.53亿元。今日股市行情走势预测图
今日股市行情走势预测图
股票看来,今天有1747只股票获主力资金净流入,其中,28股获主力资金净流入超1亿元。中国海油获主力资金净流入最多,净流入金额为4.64亿元;主力资金净流入靠前的股票还有阳光乳业、海康威视(002415)、安徽建工(600502)、农发种业(600313)、药明康德(603259),净流入金额分别为4.32亿元、3.95亿元、3.77亿元、3.52亿元、3.14亿元。今日股市行情走势预测图
今日股市行情走势预测图
此外,2905只股票被主力资金净卖出,其中,42股被主力资金净卖出超1亿元。主力资金净流出最多的股票是盐湖股份,净流出金额为5.28亿元;主力资金净流出靠前的股票还有中矿资源(002738)、科达制造、天齐锂业(002466)、金龙汽车(600686)、长城汽车(02333),净流出金额分别为3.83亿元、3.77亿元、3.66亿元、3.12亿元、2.78亿元。今日股市行情走势预测图
今日股市行情走势预测图
2.北向资金今日股市行情走势预测图
北向资金本周累计成交4091.1亿元,成交净卖出95.8亿元。其中,沪股通合计净卖出11.01亿元,深股通合计净卖出84.79亿元。今日股市行情走势预测图
从单日看,北向资金今天成交额为809.82亿元,成交净买入39.01亿元。其中,沪股通净买入41.87亿元,深股通净卖出2.86亿元。今日股市行情走势预测图
活泼股票方面,北向资金净买入较多的有贵州茅台(600519)、迈瑞医疗(300760)、宁德时代(300750)、药明康德(603259)、招商银行(03968),净买入金额分别为6.12亿元、5.92亿元、5.3亿元、5.1亿元、4.01亿元。北向资金净卖出海螺水泥(600585)、分众传媒(002027)、赣锋锂业(002460)、美的集团(000333),净卖出金额分别为2.36亿元、2.2亿元、1.44亿元、0.05亿元。今日股市行情走势预测图
今日股市行情走势预测图
3.龙虎榜机构资金动向今日股市行情走势预测图
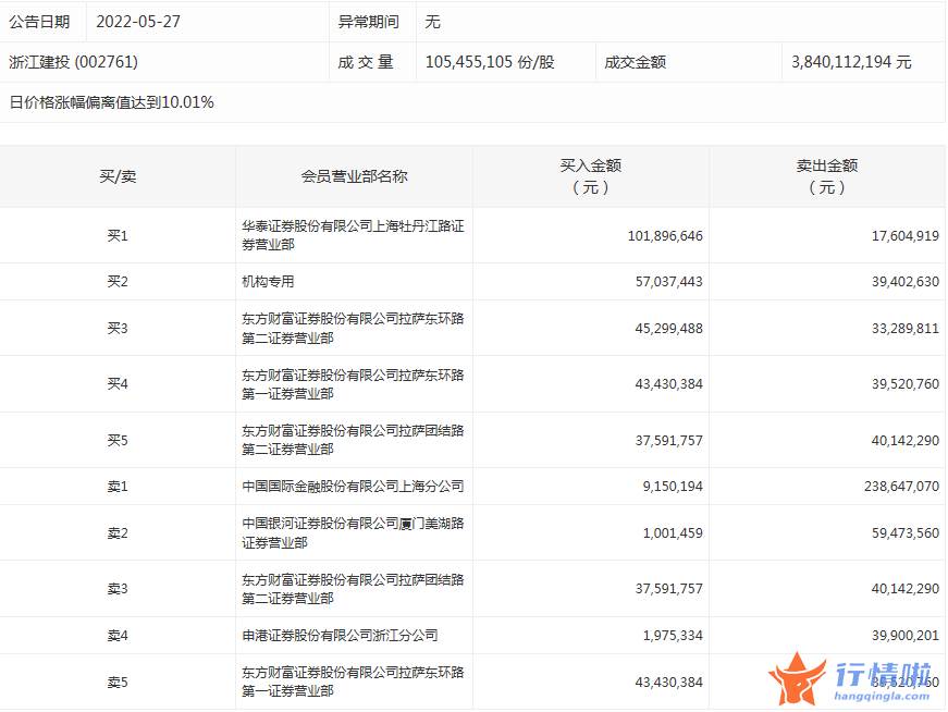
盘后龙虎榜数据显示,今天机构席位资金合计净卖出约1.13亿元。其中,净买入的股票8只,净卖出的股票10只。机构净买入最多的股票是浙江建投,净买入金额约1763.48万元;机构净买入靠前的还有金一文化(002721)、美盛文化(002699)等股。机构净卖出最多的股票是科达制造,净卖出金额约9379.19万元。机构净卖出靠前的还有中交地产(000736)、康希诺等股。今日股市行情走势预测图
今日股市行情走势预测图
涨跌停股票今日股市行情走势预测图
截至收盘,沪深两市合计1871只股票上涨,2624只股票下挫,平盘股票183只,停牌的股票46只。不含当日上市新股,共有93只股票涨停,21只股票跌停。连续涨停天数看,中通客车(000957)已连收11个涨停板,连续涨停板数量最多。今日股市行情走势预测图
涨停股中,从收盘涨停板封单量看来,科陆电子(002121)最受追捧,收盘涨停板封单有3287.65万股;其次是宝塔实业(000595)、豆神教育,涨停板封单分别有3113.86万股、2278.37万股。以封单金额计算,联翔股份、科陆电子(002121)、中成股份(000151)等涨停板封单资金较多,分别有5.17亿元、1.99亿元、1.77亿元。今日股市行情走势预测图
今日股市行情走势预测图
行业版块方面看,教育、煤炭、石油石化、建筑点缀、交通运输、医药生物等行业版块上涨幅度靠前。传媒、房地产(512200)、通信、电子、酿酒等行业版块下滑靠前。涨停股票关键聚合在汽车、机械设备、建筑点缀、化工、传媒等行业。今日股市行情走势预测图
今日股市行情走势预测图
浙江建投今天涨停。盘后数据显示,1个机构隐藏在龙虎榜单上,净买入1763.48万元;华泰证券(601688)股份有限公司上海牡丹江路证券营业部买入1.02亿元,同时卖出1760.49万元;中国国际金融股份有限公司上海分公司买入915.02万元,同时卖出2.39亿元。今日股市行情走势预测图
今日股市行情走势预测图
易会满注重,新《证券法》已于8月1日起宣布实施。对于违纪行为确实产生在新《证券法》实施前,现阶段仍处在调研、案件审理环节的案子,将坚持不懈依法执政,依照违纪行为产生时的法律法规执行,但会落实新《证券法》精神实质,严治从重处理,另外赶紧推动积案梳理。对于违纪行为尽管开始于8月1日前,但现阶段仍在持续产生和造成不容乐观伤害的,将严苛依照新《证券法》的要求严格惩处。
本次转板规章制度施行或再度刺激性创业投资股市最新消息,建议关注创业黑马、西安旅行、复旦复华、华金资本、九鼎投资、市北高新、通产丽星、鲁信创投、民丰特纸、国际实业、华控赛格、电广传媒等创投概念股买卖性机遇。